-
舟山城镇职工养老保险关系转移申请指南如下:
一、申请条件 1. 符合国家规定的养老保险转移接续政策; 2. 转出地与转入地已建立养老保险关系; 3. 个人已参加养老保险并缴费满一定年限。
二、申请材料 1. 个人身份证原件及复印件; 2. 户口簿原件及复印件; 3. 原养老保险待遇领取证明; 4. 原养老保险缴费证明; 5. 转入地社会保险经办机构出具的《基本养老保险关系转移接续申请表》; 6. 原单位出具的个人参保缴费证明; 7. 转入地社会保险经办机构要求的其他材料。
三、办理流程 1. 准备好以上申请材料; 2. 携带材料到转出地社会保险经办机构办理养老保险关系转移手续; 3. 转出地社会保险经办机构审核材料,对符合条件者,出具《基本养老保险关系转移接续协议书》; 4. 携带《基本养老保险关系转移接续协议书》到转入地社会保险经办机构办理转入手续; 5. 转入地社会保险经办机构审核协议书,对符合条件者,办理养老保险关系转移手续; 6. 转入地社会保险经办机构将转移后的养老保险待遇发放给个人。
四、注意事项 1. 办理养老保险关系转移手续时,需确保
举报 -
申请方式
线上办理:浙江政务服务网
线下办理:
舟山市行政服务中心(舟山市定海区千岛街道翁山路555号)人力社保1-4号窗口
受理接待时间:工作日:上午8:30-12:00,下午14:00-17:00
受理条件
已在统筹地办理基本养老保险关系中断手续的流动就业人员
申请材料
居民身份证或社保卡
办理流程
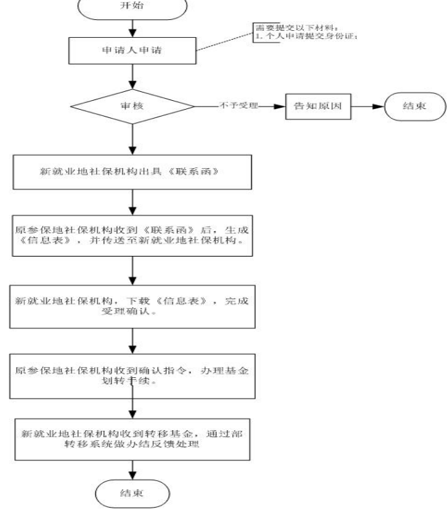
①申请人向国家社保服务平台门户网站(http://si.12333.gov.cn)或“掌上12333”手机APP进行网上或移动端申请
②新结业地社保机构受理并予以审核,符合转移条件的,通过部转移系统和原参保地社保机构对相关信息完成审核,并完成受理确认
③原参保地社保机构收到确认指令后办理基金划转手续,新就业地社保机构收到转移金额后,通过部转移系统做办结反馈处理。

咨询/途径
咨询电话:0580-2601126、0580-2036507
监督投诉电话:0580-12345-1或12345投诉热线
网上投诉:http://zxts.zjzwfw.gov.cn
举报

